As marine monitoring projects continue to expand across different industries, the need for flexible and adaptable equipment is becoming more apparent. While standard buoy systems can meet basic requirements, they are not always suitable for complex or specialized applications. This is why customized buoy solutions are gaining more attention.
Every marine project operates under different conditions. Factors such as water depth, current strength, wave conditions, and environmental goals can vary significantly from one site to another. A buoy system that works well in a calm inland lake may not perform the same way in offshore environments. Because of this, relying on a one-size-fits-all solution can sometimes limit the effectiveness of data collection.
Customized buoy systems are designed with specific project requirements in mind. Instead of adapting the project to fit the equipment, the equipment is adjusted to fit the project. This approach allows for better alignment between monitoring goals and actual performance.
One of the most common areas of customization is sensor integration. Different applications require different types of data. For example, a monitoring buoy used in aquaculture may focus on water quality parameters such as dissolved oxygen, temperature, and pH levels. In contrast, a buoy deployed for offshore engineering may prioritize wave data, including wave height, period, and directional spectrum.
In some cases, multiple types of sensors are combined into a single buoy platform. This allows users to monitor several parameters at once, reducing the need for multiple devices in the same area. By integrating functions into one system, deployment and maintenance can become more manageable.

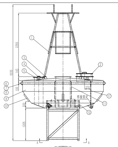
Another important aspect of customization is structural design. The size, shape, and material of the buoy can be adjusted depending on environmental conditions. For example, areas with strong waves may require a more stable structure, while shallow waters may call for a more compact design. These adjustments help ensure that the buoy performs reliably in its intended environment.
Mooring systems can also be customized. The length and type of mooring line, anchor selection, and overall configuration can all be adapted based on water depth and seabed conditions. A properly designed mooring system not only keeps the buoy in position but also contributes to the accuracy of the data being collected.
Power supply is another area where customization plays a role. While solar panels are widely used, their size and configuration can be adjusted depending on energy consumption and local weather conditions. In some cases, additional battery capacity may be added to support longer operation periods or higher data transmission frequency.
Communication methods can also be tailored to project needs. Coastal projects may benefit from 4G or radio communication, while offshore deployments often rely on satellite systems. Choosing the right communication setup ensures that data can be transmitted consistently without unnecessary interruptions.
Cost control is one of the practical advantages of customized buoy solutions. By selecting only the components that are necessary for a specific application, users can avoid paying for features they do not need. This approach makes it possible to balance performance and budget more effectively.

At the same time, customization does not mean complexity has to increase. With proper design, a customized buoy system can remain straightforward to deploy and maintain. In fact, tailoring the system to the actual environment can sometimes reduce long-term operational challenges.
Another benefit is scalability. As project requirements evolve, a customized system can often be upgraded or expanded. For example, additional sensors can be integrated later, or communication settings can be adjusted as data needs change. This flexibility allows the system to remain useful over a longer period.
In many industries, including environmental monitoring, offshore energy, and scientific research, the demand for more specific and reliable data is growing. Standard solutions may still play a role, but they are increasingly complemented by customized systems that offer greater adaptability.
In summary, customized buoy solutions provide a more flexible way to address the diverse challenges of marine monitoring. By focusing on actual project needs-whether it is sensor configuration, structural design, or communication methods-these systems can deliver more relevant and consistent data.
As marine projects continue to develop, customization is likely to become not just an option, but a standard approach for achieving better monitoring results.

